Dimensional Tolerancing

The limitations of dimensional tolerancing

Dimensional tolerancing only tolerances dimensions — also referred to as +/− tolerancing. The problem with dimensional tolerancing is that while the dimensions and tolerances appear to be in a coordinate system when you look at the drawing, in reality, the dimensions are not related to each other and there are no guarantees or requirements that the dimensions are parallel or perpendicular to each other.

With dimensional tolerancing, it is impossible for the recipient of the drawing to see which dimensions it is important to have aligned with each other and which ones are independent of each other. This means that the supplier has to guess — and that typically means that the supplier will either make the components closer to perfect and therefore more expensive than they have to be, because he tries to keep more dimensions aligned than are really necessary, or he misses one or more alignments that are important and manufactures components that do not function.

It is obviously not the supplier’s fault that it is impossible to see from the drawing which features have to be aligned and how well.

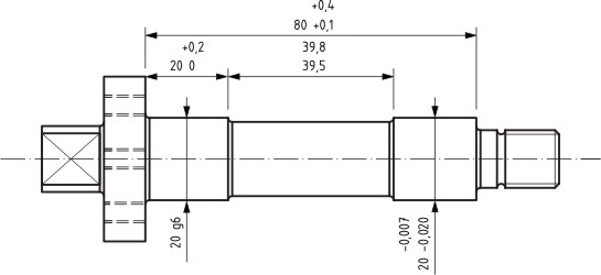
Figure 1 shows a shaft that is partially toleranced with dimensional tolerances.

Shaft with dimensional tolerances
Figure 1: Shaft with dimensional tolerances

The dimensional tolerances give the diameters of the bearing surfaces, the width of the first bearing surface, the distance between the bearing surfaces and the overall effective length of the shaft from the backside of the hub at the left side to the end face to the right.

What the drawing does not indicate is how well the two bearing surfaces have to be aligned with each other. One might say that “anybody can see that they have to be aligned with each other”, but the tolerances do not require it and there is nothing to tell the supplier how far out of alignment they are allowed to be before it is unacceptable. So in principle, the supplier could deliver shafts as those shown in figure 2 and figure 3 and legitimately claim to have met the specification.

Shaft with off-set bearing surfaces
Figure 2: Shaft with off-set bearing surfaces
Shaft with misaligned bearing surfaces
Figure 3: Shaft with misaligned bearing surfaces

Another deviation that is not limited by the dimensional tolerances is shown in figure 4, where the backside of the hub and the end face are parallel, but not perpendicular to the shaft axis. So the length tolerance may be met, but it is unlikely that the shaft will function as intended.

Shaft with misaligned, but parallel hub and end faces
Figure 4: Shaft with misaligned, but parallel hub and end faces

Finally, there is no limit to how misaligned the backside of the hub and the end face are allowed to be from each other. If they are not parallel, it is ambiguous what the dimensional tolerance means, see figure 5. Should it be measured perpendicular to the backside of the hub (blue arrows)? Or perpendicular to the end face (red arrows)?

Shaft with misaligned hub and end faces
Figure 5: Shaft with misaligned hub and end faces

As can be seen from this simple example, dimensional tolerances alone cannot describe the geometry of the component in sufficient detail to ensure that every supplier will understand which alignments are important and that the manufactured component will be functional.

The example is very simple, but for “real” components it is impossible for a supplier to guess which features have to be aligned, if the drawing only shows dimensional tolerances. This is why outsourcing using only dimensional tolerances is doomed to fail.

Once designers realize the shortcomings of dimensional tolerancing, they usually move on to hybrid tolerancing or Band-Aid tolerancing.

← GPS Overview